EMOLTV

Harley-Davidson patenta avanzado sistema de frenado de emergencia

El sistema utiliza un radar y varios sensores que miden en tiempo real las condiciones del tránsito y el estado de conciencia del piloto, pudiendo frenar automáticamente la moto en caso de ser necesario.

06 de Febrero de 2021 | 19:12 | Por Carlos Valdés
imagen
Shutterstock
El fabricante de motocicletas más icónico de Estados Unidos, Harley-Davidson, está empeñado en modernizar su actual oferta de modelos, no solo para captar a un segmento más joven de consumidores, sino también para ofrecer la máxima seguridad a sus fiel cartera de clientes que ha estado por años con la compañía y que hoy, con avanzada edad, se muestran más reacios a comprar nuevos ejemplares, ya que no cuentan con las mismas habilidades de antaño.


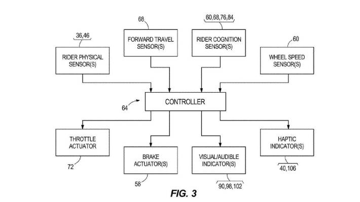
En esa línea, la empresa de Milwaukee sigue apostando por la investigación y desarrollo. Al menos así lo dejan en evidencia las últimas patentes tramitadas por el constructor y que hacen pensar que sus próximos modelos incluirán un moderno sistema de asistencia al conductor, que operará gracias a un radar y sensores que medirán la capacidad de respuesta del piloto y que, de ser necesario, activará automáticamente los frenos.

Pese a que Harley-Davidson siempre ha defendido sus orígenes, con el gran motor V-Twin y una diseño que mantiene las líneas de las grandes custom, en los últimos años ha ido actualizando su performance, como cuando incorporó a sus modelos modernas luces LED o la luz trasera que integra en un solo piloto las tres funciones de faro, stop e intermitentes.

Un avanzado sistema de asistencia


Ahora los ingenieros de la firma están empeñados en mejorar la seguridad para los pilotos perfeccionando los sistemas de asistencias al conductor que ya están presentes en motocicletas de alta gama y que, básicamente, permiten controlar la velocidad gracias a la ayuda de un radar frontal.

En esa línea, la última patente tramitada por Harley-Davidson muestra una nueva generación del frenado automático que la compañía presentó hace ya tres años.

Según se indicó, el sistema utiliza los mismos radares frontales que detectan la distancia con el vehículo que está delante para activar el control de crucero adaptativo. No obstante, ahora no sólo regulará la velocidad de la moto para seguir el ritmo del tráfico, sino que también estará conectado al sistema de frenos y a una serie de sensores de percepción del conductor a fin de activar una detención de emergencia ante una inminente colisión.


Esta tecnología proviene del mundo automotriz y fue perfeccionada por los ingenieros de Harley-Davidson para adaptarla a un vehículo de dos ruedas, el que presenta mayores complejidades cuando se trata de activar un freno de emergencia.

Es decir, mientras un automóvil puede configurarse de forma relativamente segura para realizar maniobras de frenado de emergencia automáticas, cualquier acción de ese tipo podría ser desastrosa en una motocicleta, especialmente si el conductor no está preparado.


La respuesta de Harley-Davidson fue predecir con mucha más anticipación los eventuales escenarios y la posible respuesta del piloto gracias a una serie de sensores que evaluarán el estado del vehículo antes de aplicar los frenos, mientras que otros miden la conciencia y la posición del cuerpo del conductor para determinar si las alarmas deben preceder a la activación de los frenos.

De hecho, indica el reporte de Motor1.com, el sistema es capaz de comprobar en tiempo real si el piloto está frenando y, de ser así, determinar si la moto puede frenar más fuerte -muchos conductores no son conscientes de la rapidez con la que una moto puede detenerse si es necesario- y aplica automáticamente más fuerza en la acción hasta que se alcanza la máxima deceleración potencial.


En caso que el sistema detecte que el piloto no ha iniciado la acción de frenado, analiza la posición y la conciencia de este, utilizando sensores que miden la fuerza de agarre en el manillar y el asiento para juzgar si es seguro proceder a la frenada de emergencia.

Si el sistema establecer que el conductor no está consciente de la necesidad de frenado activará en fracción de segundos una serie de alarmas (audible, visual y táctil) para advertirlo antes de activar la detención automática.
Vehículos destacados
    Encuentra
    tu próximo vehículo

    Palabras clave

    Región

    Categoría

    Marca

    2000Rango de años 2020

    Precio

    Fecha de publicación

    Buscar
    Limpiar