EMOLTV

BMW patenta un tornillo exclusivo que podría limitar las reparaciones caseras de sus vehículos

La marca registró un sistema de fijación que requiere herramientas propias, reabriendo el debate sobre el derecho a reparar y el futuro de la mantención automotriz.

10 de Febrero de 2026 | 11:17 | Por Carlos Valdés
imagen
Emol
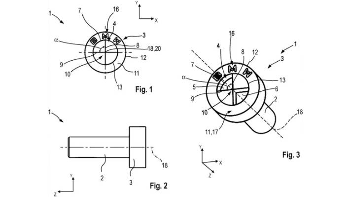
El fabricante alemán BMW volvió a generar debate en la industria automotriz tras registrar a finales de 2025 una nueva patente relacionada con un elemento aparentemente simple: un tornillo. Sin embargo, su diseño no sería convencional y podría limitar la posibilidad de que los propietarios reparen sus propios vehículos.

El perno posee una cabeza similar a la tapa de válvula de neumáticos de la marca, pero con cavidades internas que impedirían usar herramientas comunes. Solo una herramienta específica —también patentada— permitiría apretar o aflojar la pieza.


La documentación presentada ante la Organización Mundial de la Propiedad Intelectual señala que existen conexiones roscadas que "solo un grupo limitado de personas debería poder manipular". En la práctica, esto implicaría que ciertos componentes quedarían reservados para intervención técnica autorizada.

El sistema podría utilizarse en zonas visibles para el usuario, como la consola central o los asientos. BMW indica que el objetivo es evitar manipulaciones no autorizadas y proteger los componentes contra aflojamientos indebidos.

No es la primera vez que la industria recurre a soluciones de este tipo. Diseños especiales ya se utilizan para prevenir robos de catalizadores, sensores o ruedas. Sin embargo, el alcance potencial de esta patente es mayor, ya que podría aplicarse a piezas cotidianas del vehículo.


El anuncio también reactivó el debate sobre el "derecho a reparar". En Estados Unidos, cerca del 20% de los repuestos son comprados por aficionados que realizan sus propias mantenciones y un 30% de los conductores declara preferir reparar su auto por cuenta propia. La normativa actual permite a los fabricantes proteger patentes y secretos industriales, lo que abre espacio a este tipo de desarrollos.

Por ahora no está confirmado si BMW implementará el tornillo en producción ni cuándo podría hacerlo. Aun así, el registro refleja una tendencia creciente: vehículos cada vez más complejos y dependientes de herramientas especializadas, lo que podría cambiar la relación entre fabricantes, talleres y usuarios en los próximos años.
Vehículos destacados
    Encuentra
    tu próximo vehículo

    Palabras clave

    Región

    Categoría

    Marca

    2000Rango de años 2020

    Precio

    Fecha de publicación

    Buscar
    Limpiar